{{ v.name }}
{{ v.cls }}类
{{ v.price }} ¥{{ v.price }}
随着社会的发展,品牌意识的加持下,注册商标出现了歪风气,尤其是包通过的说法的,在市场中不断流传!真的有包过的吗?
一、说自身有实力、有关系,商标注册能百分百下证,这是假的!
比如:万达集团每年光商标注册提交都是成千上万,它每年都也有大量商标注册被驳回,能说万达集团没实力、法务部不够强大吗?当然不是。现在商标局对商标注册审核越来越严格,所以不是说自身有实力、公司规模有多大,就能让商标注册百分百下证。


二、商标注册能否下证成功,是受很多因素影响
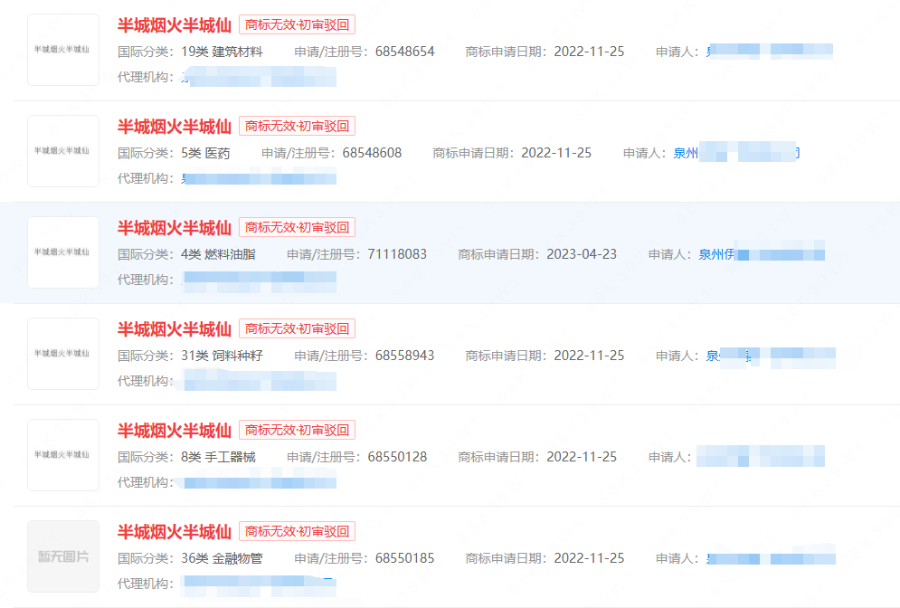
(1)商标注册检索
商标注册检索是影响其商标注册能否成功下证的关键因素。
在商标注册这行有这样一句话:“商标注册成功的关键在于商标注册的全面检索”。
而商标注册检索如要细分可分为两块:
商标注册近似检索,这主要是检索该注册商标有没有和已注册商标或提前提交的注册商标有近似风险,除了相同和近似,,还有是否缺乏显著性和是否存在不良影响。
商标注册意义检索,这块比较细节,跟政策、舆论、道德等等息息相关。比如:泉州某广告公司抢注 “半城烟火半城仙” 为商标,并起诉使用该标识的网红餐厅侵权。但法院查明,该短语自 2014 年起便由泉州文旅局用于城市形象宣传,已成为代表泉州的公共文化符号,最终法院驳回原告诉求,涉案商标被无偿捐赠给政府。

(2)商标盲期风险
盲期风险其实可以理解为未查询到提前提交注册申请的信息,简单说就是全国商标注册信息最终都是汇总到商标总局,全国注册信息每天基本上是上百万的信息提交,这其中有信息存储的延迟,一般定义为有1月数据存储的时间,也就是说有一个月的盲期风险。在这个期间是查不清楚是否有同名或近似的标提交了注册,或需是同名在查询前十多天提交的,又或是提前一天提交的。
(3)其它
商标注册也受审查员的影响,有一定的主观判断。
(4)商标抢注的风险。抢注著名商标、驰名商标、世界品牌,也会有给商标局驳回申请的风险,导致商标取证不成功。
总结来说:商标注册成功关键在于全面检索,找的代理机构越专业,规避风险成功的可能性就越高,但也不能包成功,如果有人告诉你可以百分百包通过,那么你要重新审视这个人,以及他背后的代理机构了。